● 不锈钢材质,稳定性强。
● 适用于各种环境,IP68。
● 主要用于包装秤、料斗秤和各种工业称重系统。
● 应用领域:汽车装配、自动化装配、3C产品检测、新能源产品装配、医疗检测、机器人、模具装配等工业检测、测量和控制系统。

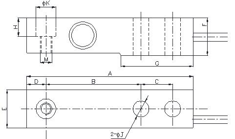
| 上限(t) | A.... | B | C | D | E | F | G | H | J | K | M |
| 0.22~1.76 | 133.4 | 76.2 | 25.4 | 15.4 | 30.7 | 30.2 | 57.7 | 14.2 | 13 | 20.6 | M12 |
| 2.2 | 136.6 | 76.2 | 25.4 | 18.4 | 36.8 | 36.6 | 55.6 | 16.6 | 13 | 12.5 | M12 |
| 3 | 139.7 | 79.2 | 25.4 | 18.4 | 39 | 36.6 | 57.9 | 16.6 | 15 | 12.5 | M12 |
| 4.4 | 171.5 | 95.2 | 38.1 | 21.5 | 42.9 | 42.9 | 73.8 | 20.9 | 19 | 22.2 | M20 |
| 额定范围 | 0.11,0.22,0.55,1.1, 1.762.24.4t | 绝缘电阻 | ≥5000MΩ/100VDC |
| 精度等级 | C3 | 励磁电压 | 5伏 |
| 零点平衡 | ±2%F。S | 最大励磁电压 | 15伏 |
| 非线性 | 0.017%F.S。 | 温度补偿范围 | -10〜40℃ |
| 滞后误差 | 0.017%F.S。 | 工作温度范围 | -20〜60℃ |
| 可重复性 | 0.017%F.S。 | 安全负载(E L) | 150%F。S |
| 蠕变(30分钟) | 0.0166%F.S。 | 破坏载荷(E d) | 300%F。S |
| 灵敏度漂移温度系数 | 0.014%F.S./10℃ | 电缆线尺寸 | φ5.4×3000毫米 |
| 零点漂移温度系数 | 0.0125%F.S./10℃ | 布料 | 0.9千克(0.55~1.76吨) 1.6公斤(2.2吨) 2.2千克(4.4吨) |
| 输入电阻 | 390±3Ω | 单位重量(G) | 不锈钢(不锈钢) |
| 输出电阻 | 350±5Ω | 保护 | IP68 |
| 输出灵敏度 | 1.94±0.1%mV/V |
力的方向 | 接线方法 |
![]() | ![]() |