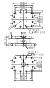
● 四维力:Fx,Fy,Fz,Mz。
● 用于静态和动态负载。
● 精度高,多功能。
● 集成机械去耦。
● 定制化工程测量平台。
● 应用领域:汽车装配、自动化装配、3C产品检测、新能源产品装配、医疗检测、机器人、模具装配等工业检测、测量和控制系统。

| 额定范围 | Fx=Fy=600kN,Fz=1000kN Mz=1000kN.m | 绝缘电阻 | ≥2000米Ω/50VDC |
| 输出灵敏度 | Fx=Fy=2.0mV/V Fz=0.5mV/VMz=1.0mV/V | 励磁电压 | 5伏 |
串扰错误 | 5%。S | 最大励磁电压 | 15伏 |
| 非线性 | 0.5%F.S。 | 温度补偿范围 | -10-60℃ |
| 滞后误差 | 0.5%F.S。 | 工作温度范围 | -35-80℃ |
| 可重复性 | 0.5%F.S。 | 安全过载 | 150%F。S |
| 蠕变(30分钟) | 0.5%F.S。 | 极限过载 | 200%FS。 |
| 灵敏度漂移温度系数 | 0.1%F.S./10℃ | 电缆线尺寸 | 4×φ6-4米 高柔电缆 |
零点温度漂移 | 0.1%F.S./10℃ | 保护 | IP65 |
力的方向 | 接线方法 |
![]() | ![]() |